適配認證概述
產品文檔
查看進度
更新時間:2025-12-18 02:06:14 瀏覽次數:--
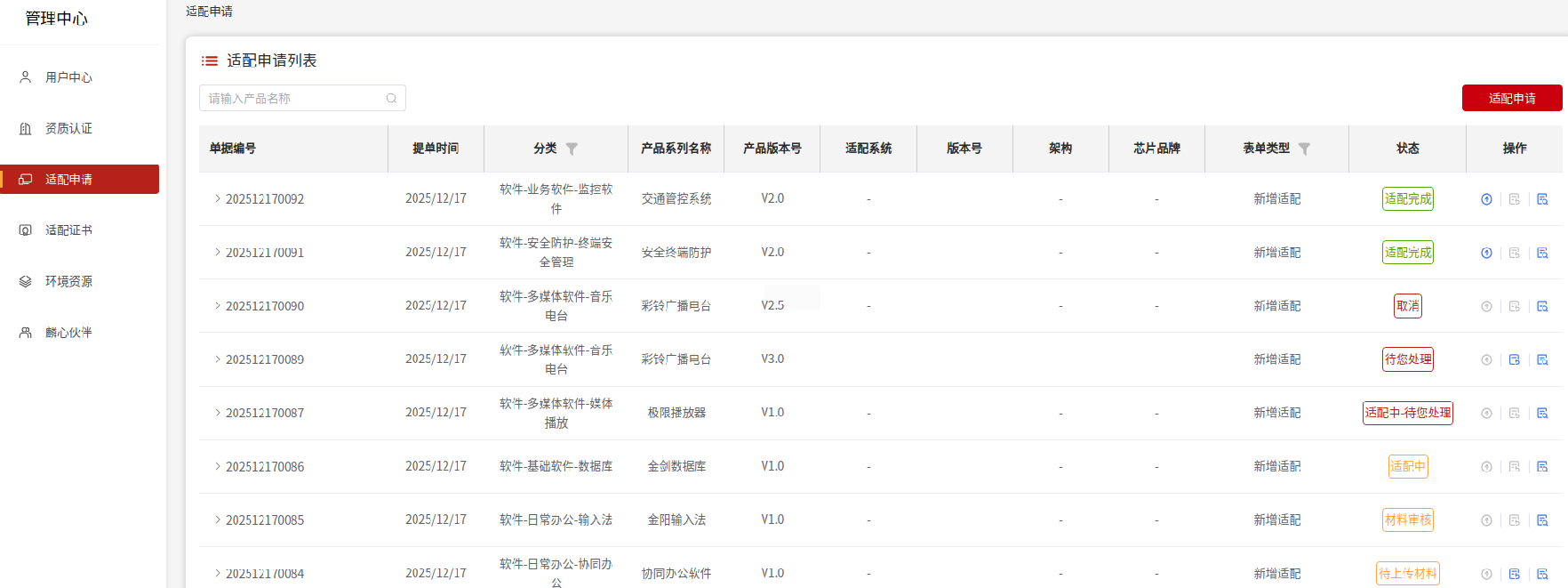
【生態伙伴中心】-【適配申請】列表查看申請單進度,可查看狀態列。
1. 待上傳材料:提交申請單后尚未提交適配材料;
2. 材料審核:提交申請單并已上傳材料;
3. 待您處理:申請單審核不通過,生態BD退回申請單,需要您更新申請單或適配材料;
4. 適配中:申請單審核通過,已進入麒麟軟件適配技術人員復測階段;
5. 適配中-待您處理:復測階段出現資料不全或適配兼容問題,適配技術人員退回適配任務單,需要您更新適配材料;
6. 適配完成:申請單適配完成。

注:適配完成分為兩種情況:
a. 如申請單對應任務單適配成功,申請單狀態為“適配完成”,任務單狀態為“適配完成(成功)”

b. 如申請單對應任務單適配失敗,申請單狀態為“適配完成”,任務單狀態為“適配完成(失敗)”


成為伙伴
適配申請
應用分發
生態兼容清單
適配證書查詢
生態解決方案
生態標準規范
鏡像下載
工具下載
適配知識庫
適配技術文檔
軟件倉庫
伙伴指南
伙伴權益
伙伴動態
麒麟安全生態聯盟
機具生態圈俱樂部
教育運管監控聯盟
開發者平臺
文檔中心